Topic: Считывание данных с панели ППУ (токовая петля)
ППУ - это Передвижная парогенераторная установка.
Вопрос заключается в следующем:
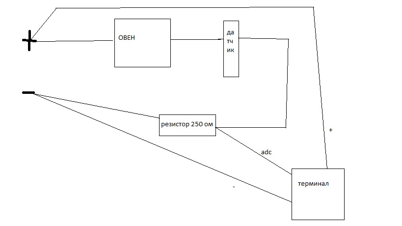
Как считать данные с информационной панели ( индикаторы типа Овен ИТП 11.3Л. ), а именно давление и температура пара. С датчиков на индикаторы поступает сигнал типа токовая петля . В идеале сигнал с данными коннектить к аналоговому входу.
Попробовали эту идею (фото во вложении), с соединением "+" и "-" с токовой петли - получилось что подсоединении "-" к "-" токовой петли перестают корректно отображать данные индикаторы.
Возможно, есть другие варианты?!
ООО "Смарт-сервис"
+7(906)346-47-00 (icq: 163 63 5, skype: smrservice)
